Salut Jacques et salut les amis !
En fait, j'écris ce post pour rectifier ce que je disais dans mon précédent car, après avoir lu et déchiffré (en partie seulement) ce topic sur Rx8 Club.com qui traite précisément de ce dont nous parlons ici, il s'avère que mon ignorance m'a fait dire des conneries et, si il y a une chose que je déteste particulièrement, ce n'est pas tant de dire des conneries, parce que ça... tous ici savent que dans le domaine... enfin bref... non, ce que je déteste, c'est de raconter des anneries parce que je ne sais pas de quoi je parle.
Je ne saurais d'ailleurs trop vous conseiller de lire vous même.
Alors, d'après ce que j'ai lu et compris.
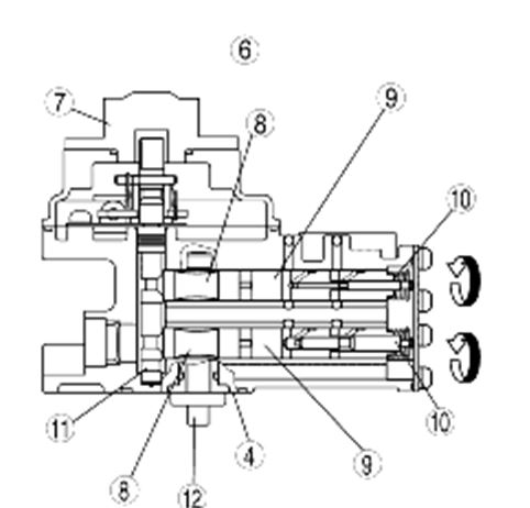
- La visse de butée mini peut effectivement servir à augmenter le flux mini, mais pas que...
Agir sur ce règlage va décaler vers le haut, toute la plage de fonctionnement de la pompe et va donc augmenter le volume du flux d'huile injectée mais, selon moi, je ne pense pas que cela prendra des proportions telles que l'on verrait le niveau d'huile baisser à vue d’œil.

- La capteur de position, quand à lui, serait bien un "switch" (on - off), et non un "potentiomètre", qui servirait, au PCM à connaitre le point zéro, ou position de référence, du moteur pas à pas de la pompe.


A chaque fois que le contacte est mis, la pompe fait un cycle d'initialisation, ou le PCM lui fait faire ce cycle et va compter le nombre de pas.
Elle va effectuer une série de 60 pas et le capteur de position doit être règlé de façon à ce qu'il envoie un signal aux alentour du pas 52.
Si ce n'est pas le cas, le PCM détermine qu'il y a une anomalie et place le moteur en mode dégradé.

Toujours d'après ce que j'ai lu et compris, la seule solution, semble t-il efficace, pour augmenter le flux de la MOP consisterait à faire un travail sur le système d'aiguilles (needle).

A l'époque où ce topic à été écris, Racing Beat proposait une modification de ces aiguilles.
En conclusion, il apparait que la visse de règlage mini peut voir sa position modifiée sans dommage pour la MOP à condition de ne pas aller trop loin dans la modif sous peine de voir le secteur dentelé arriver en bout de course alors que le moteur pas à pas reçoit l'ordre du PCM de faire encore un pas ou deux, ou plus encore... je vous laisse imaginer ce que cela peut avoir comme conséquences...
Toute la difficulté de cette opération réside dans la détermination de l'ampleur de la modification de sa position
Le capteur de position peut voir sa position légèrement modifiée, mais de toutes façons, il n'influence en rien la quantité d'huile injectée.
Voila où j'en suis de mes connaissances du fonctionnement de la MOP.